Samsung might be working on a rollable smartphone — and it looks wild

Samsung could be gearing up to reshape the future of smartphones — again. According to a new US patent filed on April 15, the company is exploring a rollable phone that expands its display on demand. Think: a compact device that stretches out into a larger screen when you’re ready to binge a show, dive into a game, or multitask like a pro.

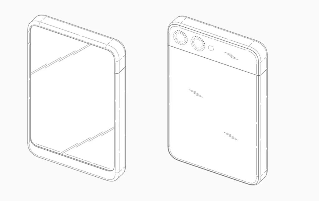
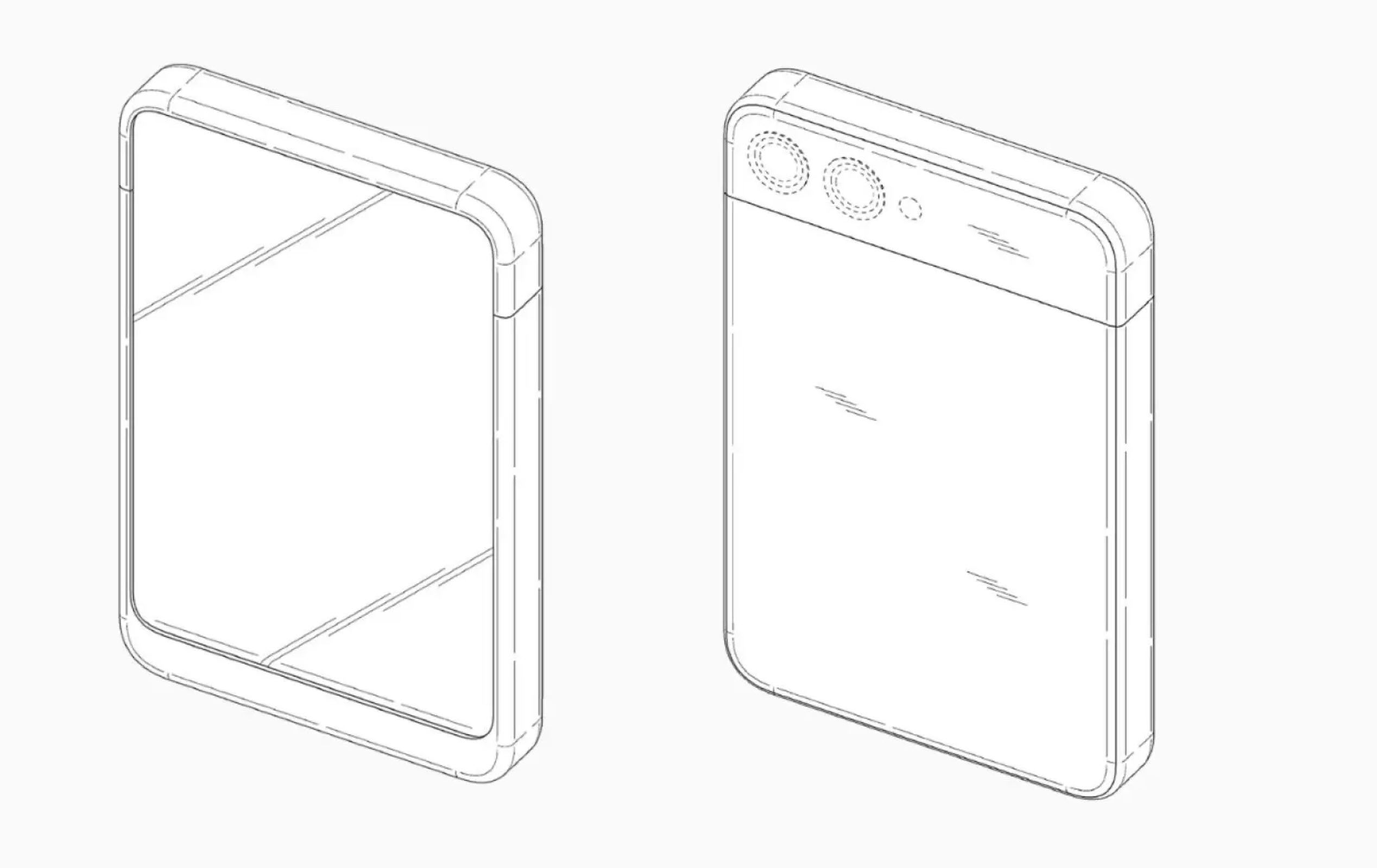
Concept renders of the device, created by DomoAI and tipster @xleaks7, show off a sleek form factor with ultra-thin bezels and a slightly thicker frame than your average phone — likely to accommodate the sliding screen mechanism. Around back, the camera module bears a strong resemblance to the one on Samsung’s upcoming Galaxy Z Flip 6.

But the hardware is only half the story. This rollable concept is also expected to lean heavily on AI smarts — similar to what we’ve seen in the Galaxy S24 and S25. We’re talking instant translation during conversations, AI-summarized messages, smart reminders like “leave now to make your meeting,” and intelligent photo editing that lets you erase unwanted objects or tweak colors with a simple tap.

Samsung’s AI will also play a bigger role behind the scenes. The camera will auto-adjust to lighting and scenes for better shots without the fuss, and mobile gamers might benefit from automated power and heat management to keep gameplay smooth.

While all eyes are currently on foldables like Huawei’s upcoming tri-fold Mate XT, Samsung’s rollable approach might end up being the more practical — and potentially more popular — path forward. Motorola has shown off similar tech in the past, but Samsung could be the one to bring it to the mainstream.

Right now, the renders only reveal what the device looks like when it’s closed. We haven’t seen the expanded screen in action — yet. But if Samsung is serious about rollables, we may not have to wait long to see the future unfold.

About 
Passionate about design, especially smartphones, gadgets and tablets. Blogging on this site since 2008 and discovering prototypes and trends before bigshot companies sometimes